Запасные части ЧТЗ Запасные части ЧТЗ
Мелитополь
Например:
Актобе
Алдан
или
Выбрать автоматически
Актобе
Алдан
Алматы
Алчевск
Архангельск
Астана
Астрахань
Атырау
Баку
Балашиха
Барнаул
Белгород
Бердянск
Бишкек
Владивосток
Владикавказ
Воркута
Воронеж
Горловка
Грозный
Донецк
Екатеринбург
Иваново
Ижевск
Иркутск
Казань
Калининград
Каменск-Уральский
Караганда
Каховка
Кемерово
Киров
Комсомольск-на-Амуре
Костанай
Краснодар
Красноярск
Красный луч
Ленск
Луганск
Магадан
Магнитогорск
Макеевка
Махачкала
Мелитополь
Минск
Мирный (Якутия)
Москва
Мурманск
Нерюнгри
Нижневартовск
Нижний Новгород
Нижний Тагил
Новая каховка
Новокузнецк
Новосибирск
Новый Уренгой
Норильск
Ноябрьск
Нур-Султан
Омск
Оренбург
Ош
Павлодар
Пермь
Петрозаводск
Петропавловск
Петропавловск-Камчатский
Псков
Ростов-на-Дону
Салехард
Самара
Санкт-Петербург
Саратов
Севастополь
Семей
Симферополь
Сочи
Ставрополь
Сургут
Сыктывкар
Тараз
Ташкент
Токмак
Томск
Тында
Тюмень
Ульяновск
Усинск
Усть-Каменогорск
Уфа
Хабаровск
Ханты-Мансийск
Херсон
Челябинск
Чита
Шымкент
Экибастуз
Энергодар
Южно-Сахалинск
Якутск
Ваш город
Мелитополь
Войти
Запасные части к тракторам на одном сайте
Отправить заявку


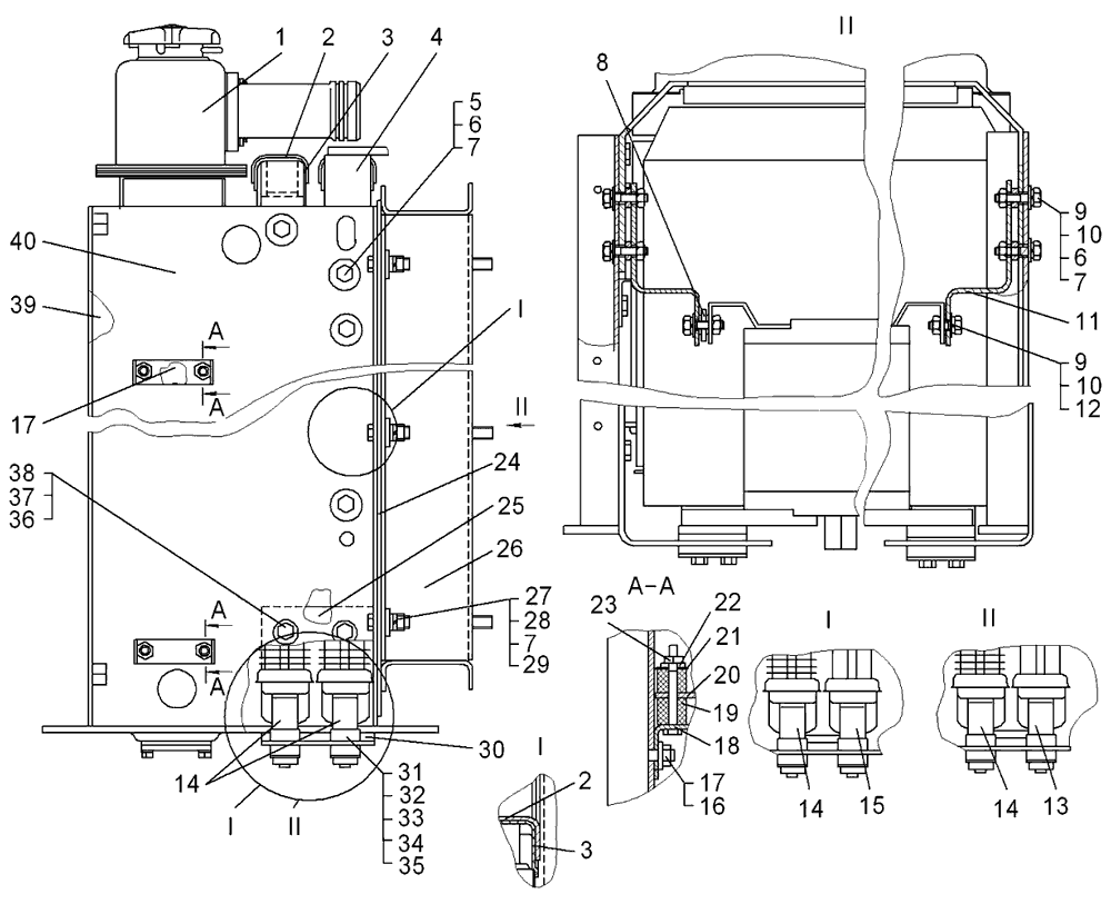
Блок радиаторов на Т10М / Б10М


/
с НДС 20%
Описание
Блок радиаторов Т10М
#Номер запчастиНаименование деталиКол-во в сборке
-64-08-13-02СП 1
64-08-13-04СП 1
64-08-13-03СП 2
Блок радиаторов1
164-08-343СПРадиатор водяной1
250-08-135СПКрышка1, 2 3
3700-40-8118-01Уплотнение2, 1 4
464-08-254СПКрышка1
5-Болт М10-6g×25.58.0198 3, 6, «-» 4
6-Шайба 10 ОТ 65Г 096 3, 8, 10 4
73197Шайба16
8700-40-7361 4Уплотнение1
9-Болт М10-6g×30.58.0198 1, 6 2
10-Гайка М10-7Н.6.019 44
1164-08-645 4Кронштейн
1231308-1 4Шайба5
13-Радиатор масляный ТГС 100.1013.4000М 41
14-
-
Радиатор масляный БР Т10-1013010
Радиатор (масляный) 50К.1013010-03
1 1
2 2
15-Радиатор (масляный) 50К.1013010 31
16-Гайка М12-6Н.68
1724-08-164Пластина4
1824-08-174СПУголок
19700-40-4915-1Амортизатор8
2024-08-171Втулка8
2124-08-160Планка4
2221-08-86Пластина4
23-Гайка М108
24700-40-9588Прокладка2
2564-08-257СПОпора1
2664-08-350СПКороб
27-Гайка М8-7Н.6.0198
28-Шайба 8 Т 65Г 098
2931386Шайба8
3064-08-378-01Опора1
31700-40-9177Амортизатор8
32-Болт М10-6g×45.58.0198, 12 4
3318-26-538Втулка8
3450-08-149Накладка4
3564-08-381Пластина стопорная4
36-Болт М12-6g×30.58.0194
37-Шайба 12 ОТ 65Г 094
383135-1Шайба4
3964-08-352СПБоковина1
4064-08-351СПБоковина1
I – для блока радиаторов 64-08-13-02СП.
II – для блока радиаторов 64-08-13-04СП.
1 Для трактора с механической трансмиссией
2 Для трактора с гидромеханической трансмиссией
3 для блока радиаторов 64-08-13-02СП.
4 для блока радиаторов 64-08-13-04СП.
Блок радиаторов