Запасные части ЧТЗ Запасные части ЧТЗ
Мелитополь
Например:
Актобе
Алдан
или
Выбрать автоматически
Актобе
Алдан
Алматы
Алчевск
Архангельск
Астана
Астрахань
Атырау
Баку
Балашиха
Барнаул
Белгород
Бердянск
Бишкек
Владивосток
Владикавказ
Воркута
Воронеж
Горловка
Грозный
Донецк
Екатеринбург
Иваново
Ижевск
Иркутск
Казань
Калининград
Каменск-Уральский
Караганда
Каховка
Кемерово
Киров
Комсомольск-на-Амуре
Костанай
Краснодар
Красноярск
Красный луч
Ленск
Луганск
Магадан
Магнитогорск
Макеевка
Махачкала
Мелитополь
Минск
Мирный (Якутия)
Москва
Мурманск
Нерюнгри
Нижневартовск
Нижний Новгород
Нижний Тагил
Новая каховка
Новокузнецк
Новосибирск
Новый Уренгой
Норильск
Ноябрьск
Нур-Султан
Омск
Оренбург
Ош
Павлодар
Пермь
Петрозаводск
Петропавловск
Петропавловск-Камчатский
Псков
Ростов-на-Дону
Салехард
Самара
Санкт-Петербург
Саратов
Севастополь
Семей
Симферополь
Сочи
Ставрополь
Сургут
Сыктывкар
Тараз
Ташкент
Токмак
Томск
Тында
Тюмень
Ульяновск
Усинск
Усть-Каменогорск
Уфа
Хабаровск
Ханты-Мансийск
Херсон
Челябинск
Чита
Шымкент
Экибастуз
Энергодар
Южно-Сахалинск
Якутск
Ваш город
Мелитополь
Войти
Запасные части к тракторам на одном сайте
Отправить заявку


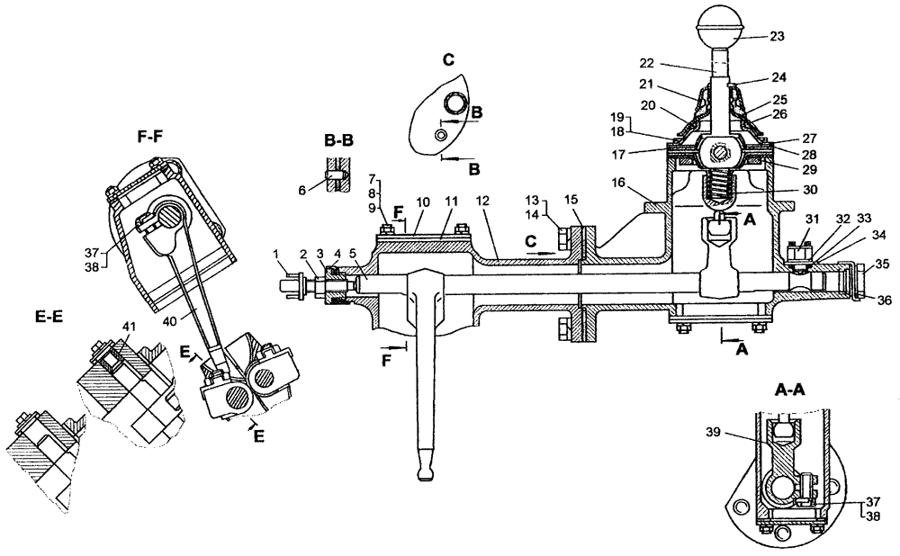
Механизм переключения передач для болотоходного трактора на Т10М / Б10М


/
с НДС 20%
Описание
Механизм переключения передач для болотоходного трактора Т10М
#Номер запчастиНаименование деталиКол-во в сборке
-20-12-131СП
20-12-132СП 1
Механизм переключения (для болотоходного трактора)1
1
1-Выключатель ВК 412 11
2700-30-604 1Гайка1
3700-37-2319 1Пробка1
431368Шайба2
520-12-79
20-12-92 1
Валик1
632349Штифт1
7-Гайка М8х1-6Н.8.45.0198
8-Шайба 8Т 65Г 098
9-Шпилька М8x 1,25-3р/1-6g x18.66.0168
1018-12-246Крышка2
11700-40-3072-1Прокладка2
1220-12-85
20-12-86
Проставка (правая задняя)
Проставка (левая задняя)
1
1
13700-28-2621Болт4
14-Шайба 16 ОТ 65Г 094
15700-40-3254
700-40-3254-1
Прокладка1
1620-12-80 1
20-12-84
Проставка (правая передняя)
Проставка (левая передняя)
1
1
1713317Фланец шаровой внутренний2
18-Болт M10-6gx30.58.0194
19-Шайба 10 ОТ 65Г 094
2040820;Кольцо
Кольцо КО 50x70-2
1
2113591Крышка1
2218-12-161СП 1
18-12-162СП
Рычаг правый
Рычаг левый
1
1
2313310СПРукоятка1
24-Шплинт 4x32.0191
2546612Колпачок1
2613319Крышка1
2713318Фланец шаровой наружный1
2840819
40819-1
Прокладка3
2913360Кольцо1
3038325Пружина2
31-Выключатель 1
ВК 418 3716 000
ВК 418 3716 000-Т
1
3221-12-50 1Прокладка7
33-Кольцо 014-018-25-2-5 11
3418-12-411 1Пластина стопорная1
35700-37-2154Пробка1 1; 2
3640588Прокладка4
37-Болт М12х1,25-6gx35.109.0194
38700-31-2337Шайба стопорная1
3920-12-91Хвостовик1
4020-12-90Рычаг1
4120-12-87 2Втулка1
1 Для механизма переключения диапазонов и направления движения.
2 Для коробки передач с заблокированной первой передачей.
Механизм переключения передач для болотоходного трактора