Запасные части ЧТЗ Запасные части ЧТЗ
Мелитополь
Например:
Актобе
Алдан
или
Выбрать автоматически
Актобе
Алдан
Алматы
Алчевск
Архангельск
Астана
Астрахань
Атырау
Баку
Балашиха
Барнаул
Белгород
Бердянск
Бишкек
Владивосток
Владикавказ
Воркута
Воронеж
Горловка
Грозный
Донецк
Екатеринбург
Иваново
Ижевск
Иркутск
Казань
Калининград
Каменск-Уральский
Караганда
Каховка
Кемерово
Киров
Комсомольск-на-Амуре
Костанай
Краснодар
Красноярск
Красный луч
Ленск
Луганск
Магадан
Магнитогорск
Макеевка
Махачкала
Мелитополь
Минск
Мирный (Якутия)
Москва
Мурманск
Нерюнгри
Нижневартовск
Нижний Новгород
Нижний Тагил
Новая каховка
Новокузнецк
Новосибирск
Новый Уренгой
Норильск
Ноябрьск
Нур-Султан
Омск
Оренбург
Ош
Павлодар
Пермь
Петрозаводск
Петропавловск
Петропавловск-Камчатский
Псков
Ростов-на-Дону
Салехард
Самара
Санкт-Петербург
Саратов
Севастополь
Семей
Симферополь
Сочи
Ставрополь
Сургут
Сыктывкар
Тараз
Ташкент
Токмак
Томск
Тында
Тюмень
Ульяновск
Усинск
Усть-Каменогорск
Уфа
Хабаровск
Ханты-Мансийск
Херсон
Челябинск
Чита
Шымкент
Экибастуз
Энергодар
Южно-Сахалинск
Якутск
Ваш город
Мелитополь
Войти
Запасные части к тракторам на одном сайте
Отправить заявку


Корпус сервомеханизма на Т10М / Б10М


/
с НДС 20%
Описание
Корпус сервомеханизма на Т10М
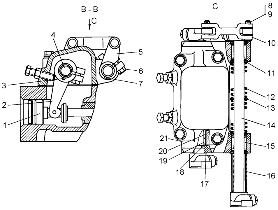
#Номер запчастиНаименование деталиКол-во в сборке
-64-17-107-01СПКорпус
164-17-111СП 1Толкатель2
264-17-64Рычаг2
3700-34-2040Шпонка2
464-17-44Валик2
564-13-46Рычаг4
6-Болт М10-6g×25.58.0196
734126Шпонка4
8700-47-2045Ось2
9-Шплинт 3,2×252
1064-17-45Серьга1
11700-42-2503Кольцо4
12700-38-2968Пружина2
133193-1Шайба2
1464-17-43Валик1
15-Подшипник
943/20
942/20
2
1664-17-46Проставка1
1764-17-61Втулка2
18-Кольцо 020-025-30-2-52
19-Подшипник 941/252
20-Подшипник 942/252
2164-17-42Корпус1
1 Входит в 64-17-2СП Сервомеханизм.
Корпус сервомеханизма