Запасные части ЧТЗ Запасные части ЧТЗ
Мелитополь
Например:
Актобе
Алдан
или
Выбрать автоматически
Актобе
Алдан
Алматы
Алчевск
Архангельск
Астана
Астрахань
Атырау
Баку
Балашиха
Барнаул
Белгород
Бердянск
Бишкек
Владивосток
Владикавказ
Воркута
Воронеж
Горловка
Грозный
Донецк
Екатеринбург
Иваново
Ижевск
Иркутск
Казань
Калининград
Каменск-Уральский
Караганда
Каховка
Кемерово
Киров
Комсомольск-на-Амуре
Костанай
Краснодар
Красноярск
Красный луч
Ленск
Луганск
Магадан
Магнитогорск
Макеевка
Махачкала
Мелитополь
Минск
Мирный (Якутия)
Москва
Мурманск
Нерюнгри
Нижневартовск
Нижний Новгород
Нижний Тагил
Новая каховка
Новокузнецк
Новосибирск
Новый Уренгой
Норильск
Ноябрьск
Нур-Султан
Омск
Оренбург
Ош
Павлодар
Пермь
Петрозаводск
Петропавловск
Петропавловск-Камчатский
Псков
Ростов-на-Дону
Салехард
Самара
Санкт-Петербург
Саратов
Севастополь
Семей
Симферополь
Сочи
Ставрополь
Сургут
Сыктывкар
Тараз
Ташкент
Токмак
Томск
Тында
Тюмень
Ульяновск
Усинск
Усть-Каменогорск
Уфа
Хабаровск
Ханты-Мансийск
Херсон
Челябинск
Чита
Шымкент
Экибастуз
Энергодар
Южно-Сахалинск
Якутск
Ваш город
Мелитополь
Войти
Запасные части к тракторам на одном сайте
Отправить заявку


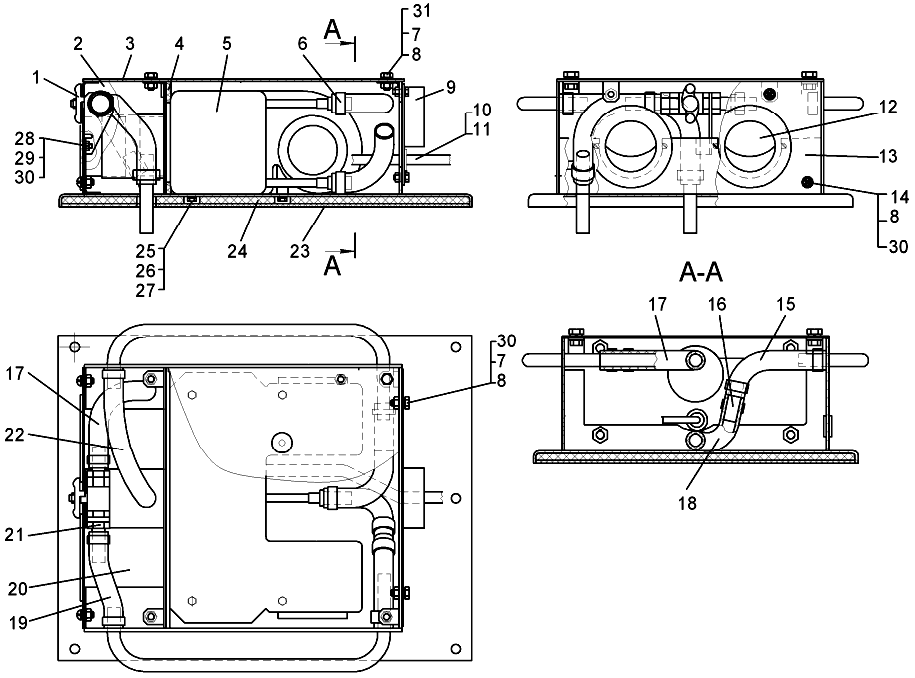
Установка отопителя ZENITH 8000 для трактора с гидромеханической трансмиссией на Т10М / Б10М


/
с НДС 20%
Описание
Установка отопителя ZENITH 8000 для трактора Т10М с гидромеханической трансмиссией
# Номер запчасти Наименование детали Кол-во в сборке
64-47-173СП Установка отопителя ZENITH 8000
(для трактора с гидромеханической трансмиссией)
1
1 - Кран ½" типа 54/А фирмы «IVR» 1
2 64-47-174СП Короб 1
3 64-47-161СП Крышка 1
4 700-40-9590 Уплотнение 1
5 - Отопитель ZENITH 8000 282.112.200 1
6 - Хомут червячный SGT 20-32/9 14
7 - Болт M8-6gx20.88.35.019 8
8 - Шайба 8Т 65Г 09 12
9 64-47-163СП Крышка 1
10 64-10-501СП Жгут ZENITH
1
11 700-40-9032
Пробка 1
12 330 31 311
Диффузор (ø 75) 2
13 64-47-151 Накладка 1
14 - Винт В.М8-6g×22.58.019 4
15 700-40-9594 Шланг 2
16 64-47-106 Трубка 2
17 2101-8101204
Шланг 1
18 2101-8101200
Шланг 1
19 700-46-2357 Рукав 2
20 VINI DN-80
Рукав гибкий ø80 (L=80mm) 2
21 64-47-121 Штуцер 2
22 700-46-2357-01 Рукав 1
23 700-40-9593 Коврик 1
24 700-40-9592 Коврик 1
25 - Болт М6-6g×14.88.35.019 4
26 - Шайба 6Т 65Г 09 4
27 31358-1 Шайба 4
28 - Винт В.М4-6g×12.58.016 4
29 - Гайка М4-7Н.6.016 4
30 - Шайба 4.01.019 4
31 31365-02 Шайба 12
Установка отопителя ZENITH 8000 для трактора с гидромеханической трансмиссией