Запасные части ЧТЗ Запасные части ЧТЗ
Мелитополь
Например:
Актобе
Алдан
или
Выбрать автоматически
Актобе
Алдан
Алматы
Алчевск
Архангельск
Астана
Астрахань
Атырау
Баку
Балашиха
Барнаул
Белгород
Бердянск
Бишкек
Владивосток
Владикавказ
Воркута
Воронеж
Горловка
Грозный
Донецк
Екатеринбург
Иваново
Ижевск
Иркутск
Казань
Калининград
Каменск-Уральский
Караганда
Каховка
Кемерово
Киров
Комсомольск-на-Амуре
Костанай
Краснодар
Красноярск
Красный луч
Ленск
Луганск
Магадан
Магнитогорск
Макеевка
Махачкала
Мелитополь
Минск
Мирный (Якутия)
Москва
Мурманск
Нерюнгри
Нижневартовск
Нижний Новгород
Нижний Тагил
Новая каховка
Новокузнецк
Новосибирск
Новый Уренгой
Норильск
Ноябрьск
Нур-Султан
Омск
Оренбург
Ош
Павлодар
Пермь
Петрозаводск
Петропавловск
Петропавловск-Камчатский
Псков
Ростов-на-Дону
Салехард
Самара
Санкт-Петербург
Саратов
Севастополь
Семей
Симферополь
Сочи
Ставрополь
Сургут
Сыктывкар
Тараз
Ташкент
Токмак
Томск
Тында
Тюмень
Ульяновск
Усинск
Усть-Каменогорск
Уфа
Хабаровск
Ханты-Мансийск
Херсон
Челябинск
Чита
Шымкент
Экибастуз
Энергодар
Южно-Сахалинск
Якутск
Ваш город
Мелитополь
Войти
Запасные части к тракторам на одном сайте
Отправить заявку


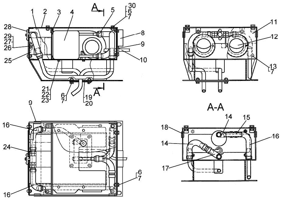
Установка отопителя ZENITH 8000 для трактора с механической трансмиссией на Т10М / Б10М


/
с НДС 20%
Описание
Установка отопителя ZENITH 8000 для трактора Т10М с механической трансмиссией
# Номер запчасти Наименование детали Кол-во в сборке
64-47-158СП Установка отопителя ZENITH 8000
(для трактора с механической трансмиссией)
1
1 64-47-160СП Короб 1
2 64-47-161СП Крышка 1
3 700-40-9590 Уплотнение 1
4 - Отопитель ZENITH 8000 282.112.200 1
5 - Хомут червячный SGT 20-32/9 12
6 - Болт M8-6g×20.88.35.019 12
7 - Шайба 8Т 65Г 09 16
8 64-47-163СП Крышка 1
9 700-40-9032 Пробка 3
10 64-10-501СП Жгут 1
11 64-47-151 Накладка 1
12 330 31 311
Диффузор (ø 75)  2
13 - Винт В.М8-6g×22.58.019 4
14 700-40-9594 Шланг 2
15 64-47-106 Трубка 2
16 - Шланг 2101-8101204 1
17 - Шланг 2101-8101200 1
18 700-40-9305 Пробка 2
19 64-47-172 Рамка 1
20 700-40-9647 Уплотнение 1
21 - Шайба 6Т 65Г 09 4
22 31358-1 Шайба 4
23 - Болт M6-6g×14.88.35.019 4
24 64-47-121 Штуцер 2
25 VINI DN-75
Рукав гибкий ø75 (L=80 мм)
2
26 - Винт В.М4-6g×12.58.016 4
27 - Гайка М4-7Н.6.016 4
28 - Кран ½" типа 54/А фирмы «IVR» 1
29 -
Шайба 4.01.019
4
30 31365-02 Шайба
16
Установка отопителя ZENITH 8000 для трактора с механической трансмиссией