Запасные части ЧТЗ Запасные части ЧТЗ
Мелитополь
Например:
Актобе
Алдан
или
Выбрать автоматически
Актобе
Алдан
Алматы
Алчевск
Архангельск
Астана
Астрахань
Атырау
Баку
Балашиха
Барнаул
Белгород
Бердянск
Бишкек
Владивосток
Владикавказ
Воркута
Воронеж
Горловка
Грозный
Донецк
Екатеринбург
Иваново
Ижевск
Иркутск
Казань
Калининград
Каменск-Уральский
Караганда
Каховка
Кемерово
Киров
Комсомольск-на-Амуре
Костанай
Краснодар
Красноярск
Красный луч
Ленск
Луганск
Магадан
Магнитогорск
Макеевка
Махачкала
Мелитополь
Минск
Мирный (Якутия)
Москва
Мурманск
Нерюнгри
Нижневартовск
Нижний Новгород
Нижний Тагил
Новая каховка
Новокузнецк
Новосибирск
Новый Уренгой
Норильск
Ноябрьск
Нур-Султан
Омск
Оренбург
Ош
Павлодар
Пермь
Петрозаводск
Петропавловск
Петропавловск-Камчатский
Псков
Ростов-на-Дону
Салехард
Самара
Санкт-Петербург
Саратов
Севастополь
Семей
Симферополь
Сочи
Ставрополь
Сургут
Сыктывкар
Тараз
Ташкент
Токмак
Томск
Тында
Тюмень
Ульяновск
Усинск
Усть-Каменогорск
Уфа
Хабаровск
Ханты-Мансийск
Херсон
Челябинск
Чита
Шымкент
Экибастуз
Энергодар
Южно-Сахалинск
Якутск
Ваш город
Мелитополь
Войти
Запасные части к тракторам на одном сайте
Отправить заявку


Установка сиденья для трактора с механической трансмиссией на Т10М / Б10М


/
с НДС 20%
Описание
Установка сиденья для трактора Т10М с механической трансмиссией
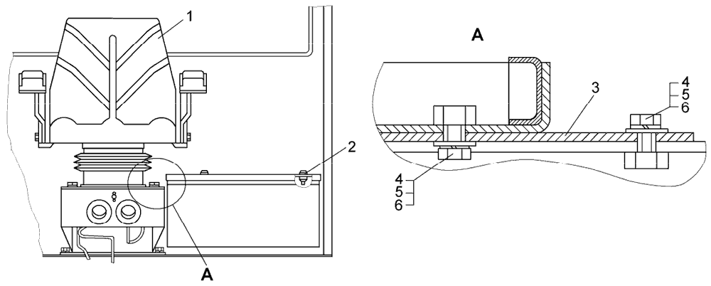
#Номер запчастиНаименование деталиКол-во в сборке
-64-23-14СП
64-23-14-01СП 1
Установка сиденья
(для трактора с механической трансмиссией)
1
1-Сидение 2001А/80Hx (без ремня безопасности)
Сидение 2001А/80HxBr 1 (с ремнем безопасности)
1
2700-40-4402Амортизатор2
364-23-107Основание1
4-Болт М8-6g×16.88.35.Ц9.ч 18
531437Шайба8
6-Шайба 8Т 65Г Ц9.ч 18
1 Для трактора с ROPS-FOPS или устройством защиты оператора и капота.
Установка сиденья для трактора с механической трансмиссией