Запасные части ЧТЗ Запасные части ЧТЗ
Мелитополь
Например:
Актобе
Алдан
или
Выбрать автоматически
Актобе
Алдан
Алматы
Алчевск
Архангельск
Астана
Астрахань
Атырау
Баку
Балашиха
Барнаул
Белгород
Бердянск
Бишкек
Владивосток
Владикавказ
Воркута
Воронеж
Горловка
Грозный
Донецк
Екатеринбург
Иваново
Ижевск
Иркутск
Казань
Калининград
Каменск-Уральский
Караганда
Каховка
Кемерово
Киров
Комсомольск-на-Амуре
Костанай
Краснодар
Красноярск
Красный луч
Ленск
Луганск
Магадан
Магнитогорск
Макеевка
Махачкала
Мелитополь
Минск
Мирный (Якутия)
Москва
Мурманск
Нерюнгри
Нижневартовск
Нижний Новгород
Нижний Тагил
Новая каховка
Новокузнецк
Новосибирск
Новый Уренгой
Норильск
Ноябрьск
Нур-Султан
Омск
Оренбург
Ош
Павлодар
Пермь
Петрозаводск
Петропавловск
Петропавловск-Камчатский
Псков
Ростов-на-Дону
Салехард
Самара
Санкт-Петербург
Саратов
Севастополь
Семей
Симферополь
Сочи
Ставрополь
Сургут
Сыктывкар
Тараз
Ташкент
Токмак
Томск
Тында
Тюмень
Ульяновск
Усинск
Усть-Каменогорск
Уфа
Хабаровск
Ханты-Мансийск
Херсон
Челябинск
Чита
Шымкент
Экибастуз
Энергодар
Южно-Сахалинск
Якутск
Ваш город
Мелитополь
Войти
Запасные части к тракторам на одном сайте
Отправить заявку


Установка масляных радиаторов на Т-170


/
с НДС 20%
Описание
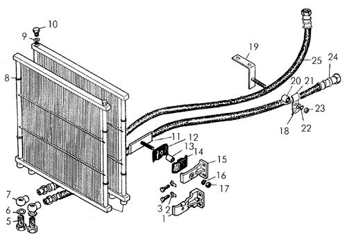
Установка масляных радиаторов Т-170
Поз.НаименованиеАртикулКол-во в сборке
0Установка радиаторов50-305СП1
1Кронштейн50-08-212
2Шайба700-31-2213-018
3БолтМ10Х30.58.0198
4Радиатор масляный 130У.09.0122
5Штуцер700-41-33552
6Кольцо 409104
7Угольник5-56-109СП2
8Кольцо402504
9Шайба314972
10Пробка371222
11Скоба24-08-152СП4
12Прокладка 700-40-31374
13Втулка24-08-54
14Прокладка700-40-3238-14
15Кронштейн24-08-1002
16Шайба12ОТ65Г096
17Гайка30116
18Шайба313083
19Кронштейн50-09-138СП1
20Втулка50-26-1151
21Прижим 50-60-2301
22Гайка М10Х6.019М10Х6.0191
23Шайба10ОТ65Г091
24Рукав 1650-26-485-08СП1
25Рукав 1650-26-485-10СП1
Установка масляных радиаторов