Запасные части ЧТЗ Запасные части ЧТЗ
Мелитополь
Например:
Актобе
Алдан
или
Выбрать автоматически
Актобе
Алдан
Алматы
Алчевск
Архангельск
Астана
Астрахань
Атырау
Баку
Балашиха
Барнаул
Белгород
Бердянск
Бишкек
Владивосток
Владикавказ
Воркута
Воронеж
Горловка
Грозный
Донецк
Екатеринбург
Иваново
Ижевск
Иркутск
Казань
Калининград
Каменск-Уральский
Караганда
Каховка
Кемерово
Киров
Комсомольск-на-Амуре
Костанай
Краснодар
Красноярск
Красный луч
Ленск
Луганск
Магадан
Магнитогорск
Макеевка
Махачкала
Мелитополь
Минск
Мирный (Якутия)
Москва
Мурманск
Нерюнгри
Нижневартовск
Нижний Новгород
Нижний Тагил
Новая каховка
Новокузнецк
Новосибирск
Новый Уренгой
Норильск
Ноябрьск
Нур-Султан
Омск
Оренбург
Ош
Павлодар
Пермь
Петрозаводск
Петропавловск
Петропавловск-Камчатский
Псков
Ростов-на-Дону
Салехард
Самара
Санкт-Петербург
Саратов
Севастополь
Семей
Симферополь
Сочи
Ставрополь
Сургут
Сыктывкар
Тараз
Ташкент
Токмак
Томск
Тында
Тюмень
Ульяновск
Усинск
Усть-Каменогорск
Уфа
Хабаровск
Ханты-Мансийск
Херсон
Челябинск
Чита
Шымкент
Экибастуз
Энергодар
Южно-Сахалинск
Якутск
Ваш город
Мелитополь
Войти
Запасные части к тракторам на одном сайте
Отправить заявку


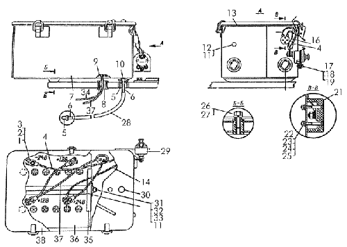
Установка аккумуляторных батарей на тракторах с пусковым двигателем на Т-170


/
с НДС 20%
Описание
Установка аккумуляторных батарей на тракторах с пусковым двигателем Т-170
Поз.НаименованиеАртикулКол-во в сборке
0Установка аккумуляторных батарей50-10-397СП1
0Штепсельная розетка для тропиков47К-Т1
1ГайкаМ8Х6.0194
2Шайба8Т65Г094
3Болт28484
4Провод 5124-10-463СП1
5Ниппель411812
6Трубка50-10-962
7Контейнер50-10-431СП1
8Кольцо700-40-31401
9Прокладка700-40-70431
10Гайка 30101
11Шайба31308-15
12Пистон700-42-23002
13Прокладка700-40-70551
14Провод 7750-10-421СП1
15Втулка700-40-74191
16Провод21-10-213СП1
17БолтМ6Х16.58.0193
18ГайкаМ6Х6.0193
19Шайба6Т65Г093
20Колпачок700-40-26924
21Штепсельная розетка47К-Э1
22ВинтВ.2М3-6gХ25.58.0192
23БолтМ6Х16.58.0192
24Шайба3Т65Г092
25Шайба31311-12
26БолтМ12Х30.58.0194
27Шайба12ОТ65Г094
28Шланг700-46-2226-011
29Выключатель массы ВК-318Б1
30Пистон700-40-55651
31Стяжка50-10-1322
32Кольцо 407382
33ГайкаМ10Х6.0192
34Провод 27150-10-456СП1
35Упор50-10-459СП1
36Батарея6СТ-75ТМ-Э2
37Провод 322/31950-10-305-1СП1
38Крышка50-10-400СП1
Установка аккумуляторных батарей на тракторах с пусковым двигателем