Запасные части ЧТЗ Запасные части ЧТЗ
Мелитополь
Например:
Актобе
Алдан
или
Выбрать автоматически
Актобе
Алдан
Алматы
Алчевск
Архангельск
Астана
Астрахань
Атырау
Баку
Балашиха
Барнаул
Белгород
Бердянск
Бишкек
Владивосток
Владикавказ
Воркута
Воронеж
Горловка
Грозный
Донецк
Екатеринбург
Иваново
Ижевск
Иркутск
Казань
Калининград
Каменск-Уральский
Караганда
Каховка
Кемерово
Киров
Комсомольск-на-Амуре
Костанай
Краснодар
Красноярск
Красный луч
Ленск
Луганск
Магадан
Магнитогорск
Макеевка
Махачкала
Мелитополь
Минск
Мирный (Якутия)
Москва
Мурманск
Нерюнгри
Нижневартовск
Нижний Новгород
Нижний Тагил
Новая каховка
Новокузнецк
Новосибирск
Новый Уренгой
Норильск
Ноябрьск
Нур-Султан
Омск
Оренбург
Ош
Павлодар
Пермь
Петрозаводск
Петропавловск
Петропавловск-Камчатский
Псков
Ростов-на-Дону
Салехард
Самара
Санкт-Петербург
Саратов
Севастополь
Семей
Симферополь
Сочи
Ставрополь
Сургут
Сыктывкар
Тараз
Ташкент
Токмак
Томск
Тында
Тюмень
Ульяновск
Усинск
Усть-Каменогорск
Уфа
Хабаровск
Ханты-Мансийск
Херсон
Челябинск
Чита
Шымкент
Экибастуз
Энергодар
Южно-Сахалинск
Якутск
Ваш город
Мелитополь
Войти
Запасные части к тракторам на одном сайте
Отправить заявку


Механизм распределения Т-170 Б-170 трактора в Мелитополе


/
с НДС 20%
Описание

Снятие кожуха шестерен распределения Т-170

Снимите дизель с трактора, вентилятор с механизмом натяжения, генератор, водяной насос, насосы НШ 32У-Л и НШ 100-3-Л, шкив коленчатого вала и переднюю опору.

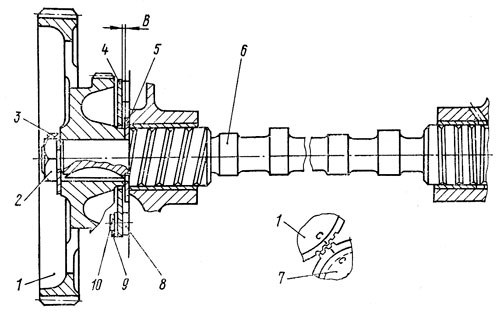
Кожух шестерен распределения
Рис. 57. Кожух шестерен распределения

Кожух 23 (рис. 57) шестерен распределения можно снять, не снимая картера дизеля, после того как снята шестерня 15 привода насоса НШ 32У-Л и шестерня 18. Снимите, в этом случае, стопорное кольцо 3 и выньте шестерню 15 с подшипниками и крышкой легкими ударами медной выколотки по торцу ступицы шестерни.

Снимите крышку 4 с наружного кольца подшипника 5. Снимите при помощи съемника подшипники с шеек шестерен. Отверните болты, крепящие ось 2 малой промежуточной шестерни 18. Выньте съемником ось с прокладкой 1, придерживая малую промежуточную шестерню через окно (место установки шестерни 15 привода насоса НШ 32У-Л). Для выпрессовывания осей шестерен съемником в их, торцах имеются резьбовые отверстия М12.

Поместите шестерню 18 в карман во внутренней части кожуха, где размещается шестерня привода насоса НШ 32У-Л, и установите на место ось 2 для удержания шестерни в кармане кожуха.

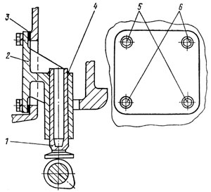
Схема строповки кожуха шестерен распределения
Рис. 58. Схема строповки кожуха шестерен распределения

Присоедините кожух шестерен к подъемнику (рис. 58). Отверните болты, крепящие кожух шестерен распределения: к блоку — девять болтов, нижнему картеру — одиннадцать болтов, к корпусу регулятора — восемь болтов.

Сдвиньте ударами медного молотка кожух шестерен распределения с установочных штифтов, запрессованных в блок, и снимите.

При снятии кожуха шестерен распределения следите, чтобы не порвалась .прокладка между кожухом и картером дизеля. Крышку 7 (см. рис. 57) с прокладкой не снимайте.

Разборка кожуха шестерен распределения и технические требования Т-170

Отверните болты крепления и снимите крышку 25 с прокладкой 24 (см. рис. 57) . Снимите крышку 11 с прокладкой 12. Отверните два болта крепления оси 28 к кожуху. Выпрессуйте ось с помощью съемника из отверстия кожуха и снимите шестерню 19 с подшипниками и два кольца 21. Из шестерни выпрессуйте подшипники 22 с обеих сторон. Отверните болты крепления оси 6, выпрессуйте ось из отверстия кожуха и снимите большую промежуточную шестерню 10.

Выпрессовывайте заглушки 29 и сальники 13 из горловины кожуха при необходимости.

Технические требования

  1. Нормальный диаметр оси шестерен 38-0,025 мм. Устанавливайте ось с диаметром не менее 37,94 мм.

  2. Нормальные размеры втулок большой 10 и малой 18 промежуточных шестерен: наружный диаметр 48+0.050 мм, внутренний диаметр 38+0.064 мм. Допустимый зазор в сопряжении втулки — ось шестерен 0,12 мм. Предельный зазор 0,24 мм.

  3. Средняя длина общей нормали шестерни 19 — 69,36-0,11 мм. При износе зубьев допускается средняя длина общей нормали не менее 68,44 мм. Диаметр отверстия шестерни под подшипники 100±0,010 мм. Допускается устанавливать шестерни с диаметром отверстия не более 100,05 мм.

  4. Средняя длина общей нормали большой промежуточной шестерни 10 — 87,22-0,106 мм. При износе зубьев допускается средняя длина общей нормали не менее 86,52 мм. Допускается устанавливать шестерни с втулками, имеющими диаметр отверстия не более 38,07 мм.

  5. Средняя длина общей нормали малой промежуточной шестерни 18 — 41,219-0,096 мм. При износе зубьев допускается средняя длина общей нормали не менее 40,53 мм. Допускается устанавливать шестерни с. втулками, имеющими диаметр отверстия не более 38,07 мм.

  6. Средняя длина общей нормали шестерни 15 привода насоса НШ 32У-Л 41,14-0,080 мм. При износе зубьев допускается средняя длина общей нормали не менее 40,35 мм. Допускается установка шестерни с посадочным диаметром под передний шарикоподшипник не менее 39,99 мм, под задний шарикоподшипник — не менее 34,99 мм. Износ шлицевых пазов по ширине допускается до размера не более 6,40 мм.

Сборка кожуха шестерен распределения Т-170

При сборке кожуха шестерен распределения смажьте заглушку 17 железным суриком и запрессуйте в отверстие кожуха (см. рис. 57).

Установите крышку 11 с прокладкой 12 и закрепите ее болтами с пружинными шайбами. Заверните восемь шпилек 26 крепления крышек привода насоса НШ 100A-3-Л.

Смажьте посадочную поверхность заглушки 29 «Герметиком» и запрессуйте ее в отверстие кожуха. Заверните пять шпилей 8 - крепления водяного насоса и три шпильки крепления вентилятора, предварительно смазав суриком.

При установке шестерен в кожух установите в кожух шестерню 10 и запрессуйте ось 7 с двумя прокладками 9 в отверстия кожуха и шестерни. Закрепите ось болтами с пружинными шайбами.

Установите в канавку шестерни 19 стопорное кольцо 20 и запрессуйте с обеих сторон шестерни подшипники 22 до упора в кольцо. Установите шестерню в сборе с подшипниками в кожух шестерен распределения. Наденьте прокладку 27 на ось 28, вставьте ось в отверстие кожуха и шестерни, установив с обеих сторон шестерни кольца 21, и запрессуйте ось до упора фланца в кожух. Закрепите фланец оси на кожухе болтами с пружинными шайбами. Осевой люфт шестерни должен быть не более 0,5 мм.

Уложите в карман кожуха малую промежуточную шестерню 18. Наденьте на ось 2 малой промежуточной шестерни прокладку 1 и вставьте ось в кожух, не надевая на нее шестерни. Шестерня должна удерживаться осью в кармане кожуха на месте шестерни привода насоса НШ 32У-Л и не должна выступать за нижнюю плоскость кожуха. Если кожух шестерен распределения устанавливается на дизель при снятом нижнем картере, то малую промежуточную шестерню 18 и шестерню 15 привода насоса НЩ 32У-Л установите сразу.

При сборке шестерни привода насоса НШ 32У-Л напрессуйте на шейки шестерни 15 подшипники 5 и 16 с обеих сторон до упора в бурты. Напрессуйте крышку 4 на подшипник 5. Установите в канавку крышки резиновое кольцо 14.

Установка кожуха шестерен распределения Т-170

Проверьте совпадение передней плоскости блока и корпуса регулятора. Допускается уступ не более 0,2 мм. При утопании плоскости корпуса регулятора относительно плоскости блока на небольшую величину допускается выравнивание этих плоскостей установкой дополнительной картонной прокладки только по контуру регулятора.

При выступании плоскости корпуса регулятора над плоскостью блока более чем на 0,2 мм поставьте дополнительную прокладку только по контуру плоскости блока, сопрягающейся с кожухом шестерен распределения.

Пробковая прокладка между корпусом регулятора и блоком должна быть плотно зажата между ними. Выступание прокладки над передней плоскостью блока и корпуса-регулятора в местах крепления кожуха шестерен распределения допускается в пределах 0,8...1,0 мм.

Проверьте, есть ли на переднем торце блока два штифта и медная трубочка с резиновым кольцом в выточке блока в месте подвода масла к малой промежуточной шестерне.

Протрите привалочные плоскости блока и корпуса регулятора, смажьте их солидолом и установите прокладку на штифты блока. Нижние концы прокладки должны выступать над привалочной плоскостью блока под картер не более 0,5 мм. Утопание этих концов прокладки не допускается.

Присоедините кожух шестерен к подъемнику (см. рис. 58). Установите кожух шестерен распределения на дизель, введя в зацепление промежуточные шестерни: большую шестерню с шестерней распределительного вала, большую промежуточную шестерню с шестерней коленчатого вала. Боковой зазор между зубьями спиральных шестерен должен быть 0,08...0,4 мм.

Проверьте зазор между шейкой коленчатого вала и отверстием диаметром 68,4 мм кожуха шестерен распределения, который должен быть не менее 0,06 мм при любом положении носка коленчатого вала.

Запрессуйте два сальника 13 (см. рис. 57) кромками манжет, обращенными друг к другу. Перед запрессовкой выдерживайте сальники в индустриальном масле, подогретом до температуры 323...328 К (50...55 °С), в течение 2...24 ч.

Выньте из кожуха ранее установленную ось 2 и, удерживая рукой малую промежуточную шестерню 18 через отверстие под насос НШ 32У-Л, введите ее в зацепление с шестернями распределительного вала и привода масляного насоса. Вставьте ось 2 в кожух и в малую промежуточную шестерню 18 и закрепите ее болтами с пружинными шайбами. Смажьте резиновое кольцо 14 солидолом и посадите шестерню привода насоса НШ 32У-Л с крышкой и подшипниками в кожух, введя в зацепление с малой промежуточной шестерней. Боковой зазор между зубьями шестерен должен быть 0,08...0,4 мм. Срез кольца 14 при установке не допускается. Установите пружинное кольцо 3 в канавку отверстия кожуха. Закрепите кожух шестерен распределения девятью болтами к блоку, одиннадцатью — к картеру, восемью — к корпусу регулятора топливного насоса. Установите на дизель водяной насос, насос НШ 32У-Л, вентилятор дизеля с механизмом натяжения, генератор, переднюю опору, шкив коленчатого вала, привод и насос НШ 100-3-Л. Установите дизель на трактор.

Кронштейн толкателей с толкателями клапанов Т-170

Кронштейн толкателей с толкателями
Рис. 59. Кронштейн толкателей с толкателями

Снятие

Снимите топливный насос с регулятором и коромыслом клапанов. Выньте штанги толкателей, отверните болты 5 и 6 (рис. 59), крепящие кронштейны толкателей. Нанесите совпадающие метки на кронштейнах и блоке, снимите кронштейны 2 вместе с толкателями 1.

Кронштейны толкателей третьего и четвертого цилиндров могут быть сняты без снятия с дизеля топливного насоса с регулятором. Снимите с толкателей пружинные кольца 4 и выньте толкатели из кронштейнов.

Технические требования

  1. Диаметры отверстий в кронштейне толкателей под толкатели 25+0,033 мм. Кронштейн толкателей ремонтного размера должен иметь диаметр отверстий под толкатели 26+0,033 мм.
  2. Диаметр стержня толкателя 25-0,02 мм.

Допустимый зазор между толкателем и кронштейном толкателей 0,2 мм.

Толкатель 04204-Р1-1 ремонтного размера имеет диаметр стержня 26-0,020 мм.

Сборка

Промойте в керосине кронштейн 2 и толкатели 1. Смажьте моторным маслом толкатели и вставьте их в отверстия кронштейнов. Наденьте на каждый толкатель пружинное кольцо 4. Толкатель должен легко передвигаться в осевом направлении в кронштейне и проворачиваться в нем.

Установка

Смажьте солидолом прокладку 3 и установите ее на кронштейн толкателей. Смажьте моторным маслом тарелки толкателей и установите кронштейн с толкателями на блок. Закрепите кронштейн двумя призонными болтами 6, а затем двумя болтами 5 с надетыми на них пружинными шайбами. Установите и закрепите остальные три кронштейна с толкателями.

При установке кронштейнов с толкателями на блок дизеля призонные болты ставьте в свои отверстия, не допуская замены их обычными болтами.

Распределительный вал и шестерня распределения Т-170

Распределительный вал и шестерня распределения
Рис. 60. Распределительный вал и шестерня распределения

Снятие

Снимите кронштейны толкателей и кожух шестерен распределения. Расконтрите и отверните торцовым ключом через отверстие в большом венце распределительной шестерни 1 (рис. 60) четыре болта 10 крепления упорной плиты 4. Снимите Дистанционные втулки Выньте распределительный вал 6 вместе с шестерней 1, плитой 4 и упорной шайбой 5.

Разборка

Расконтрите и отверните гайку 2 крепления шестерни распределительного вала и снимите шестерню 1 съемником. Снимите упорную плиту 4, упорную шайбу 5 и выбейте шпонку из канавки носка распределительного вала.

Технические требования

  1. Зазор во втулках распределительного вала должен быть для средних шеек 0,100...0,175 мм; Для крайних шеек 0,060...0,135 мм. Допустимый зазор 0,3 мм.

  2. Высота впускного и выпускного кулачков 53-0,2 мм. Допустимая высота кулачков — не менее 52,3 мм.

  3. Осевой люфт В распределительного вала должен быть 0,21...0,4 мм. Допустимый осевой люфт 0,6 мм.

  4. Длина общей нормали зубьев большого венца шестерни распределительного вала 99,89-0,126 мм. При износе зубьев допускается длина общей нормали не менее 99,0 мм. Длина общей нормали зубьев малого венца 64,91-0,051 мм. При износе зубьев допускается длина общей нормали не менее 64,0 мм. Посадка шестерни на распределительный вал от натяга 0,033 мм до зазора 0,008 мм. Допустимый зазор не более 0,04 мм.

  5. Боковой зазор между зубьями большого венца шестерни 1 распределительного вала и шестерни 7 коленчатого вала 0,08...0,4 мм. Боковой зазор между зубьями малого венца шестерни распределительного вала и шестерни привода топливного насоса 0,08...0,35 мм.

  6. Толщина упорной шайбы 8-0,1 мм. При выведении следов износа уменьшайте толщину шайбы До 6 мм с соответствующим уменьшением высоты дистанционных втулок для обеспечения нормального осевого люфта распределительного вала.

Сборка

Посадите в канавку распределительного вала шпонку. Установите на вал упорную шайбу 5 и упорную плиту 4. Напрессуйте распределительную шестерню 1 на носок вала. Закрепите шестерню на валу гайкой 2 со стопорной шайбой 3. После затяжки гайки шайбу отогните на ее грань.

Установка

Протрите и смажьте моторным маслом опорные шейки распределительного вала и вставьте распределительный вал 6 в сборе с шестерней 1, упорной плитой 4 и шайбой 5 во втулки блока, совместив меченые зубья меткой С на большом и малом венцах шестерни распределительного вала соответственно с мечеными впадинами зубьев на шестернях коленчатого вала и привода топливного насоса.

Установите между опорной плитой и блоком дистанционные втулки 8 и прикрепите плиту к блоку болтами 10 со стопорными шайбами 9.

Проверьте боковой зазор 0,08...0,4 мм между зубьями шестерен и осевое перемещение — люфт 0,1...0,5 мм распределительного вала. Установите снятые ранее детали.

При увеличении осевого люфта более 0,6 мм вследствие износа упорной шайбы и плиты замените шайбу новой и прошлифуйте трущуюся поверхность упорной плиты до выведения следов износа. Допускается уменьшать осевой люфт распределительного вала шлифованием торца дистанционных втулок 8. Разница высот всех четырех дистанционных втулок не должна быть более 0,08 мм. Отрегулируйте зазор в клапанах, в механизме декомпрессора и проверьте фазы газораспределения дизеля.

Механизм распределения