Запасные части ЧТЗ Запасные части ЧТЗ
Мелитополь
Например:
Актобе
Алдан
или
Выбрать автоматически
Актобе
Алдан
Алматы
Алчевск
Архангельск
Астана
Астрахань
Атырау
Баку
Балашиха
Барнаул
Белгород
Бердянск
Бишкек
Владивосток
Владикавказ
Воркута
Воронеж
Горловка
Грозный
Донецк
Екатеринбург
Иваново
Ижевск
Иркутск
Казань
Калининград
Каменск-Уральский
Караганда
Каховка
Кемерово
Киров
Комсомольск-на-Амуре
Костанай
Краснодар
Красноярск
Красный луч
Ленск
Луганск
Магадан
Магнитогорск
Макеевка
Махачкала
Мелитополь
Минск
Мирный (Якутия)
Москва
Мурманск
Нерюнгри
Нижневартовск
Нижний Новгород
Нижний Тагил
Новая каховка
Новокузнецк
Новосибирск
Новый Уренгой
Норильск
Ноябрьск
Нур-Султан
Омск
Оренбург
Ош
Павлодар
Пермь
Петрозаводск
Петропавловск
Петропавловск-Камчатский
Псков
Ростов-на-Дону
Салехард
Самара
Санкт-Петербург
Саратов
Севастополь
Семей
Симферополь
Сочи
Ставрополь
Сургут
Сыктывкар
Тараз
Ташкент
Токмак
Томск
Тында
Тюмень
Ульяновск
Усинск
Усть-Каменогорск
Уфа
Хабаровск
Ханты-Мансийск
Херсон
Челябинск
Чита
Шымкент
Экибастуз
Энергодар
Южно-Сахалинск
Якутск
Ваш город
Мелитополь
Войти
Запасные части к тракторам на одном сайте
Отправить заявку


Ремонт фильтра гидравлической системы Т-170 Б-170 трактора в Мелитополе


/
с НДС 20%
Описание

Снятие фильтра гидравлической системы Т-170

Установка крышки фильтра гидравлической системы

Рис. 318. Установка крышки фильтра гидравлической системы

Выверните пробку 3 ( рис. 318 ) и слейте масло из полости фильтра. Отверните четыре болта 1 и снимите крышку 2 и резиновое кольцо. Выньте фильтр из баков гидросистемы.

Разборка фильтра гидравлической системы Т-170

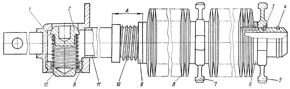
Фильтр гидравлической системы

Рис. 319. Фильтр гидравлической системы

Промойте фильтр дизельным топливом. Снимите резиновое кольцо 4 ( рис. 319 ). Сожмите фильтрующие элементы через втулку 5 так, чтобы верхняя плоскость втулки совпала с нижним торцом канавки на трубе 11, и выньте из канавки упорные полукольца 3. Снимите с трубы последовательно: втулку 5, резиновую прокладку 6, фильтрующие элементы 8, вторую резиновую прокладку, втулку 7, третью резиновую прокладку, фильтрующие элементы, четвертую резиновую прокладку, шайбу 9 и пружину 10. Выверните пробку 12 из корпуса клапана и выньте из него пружину 1 и клапан 2.

Сборка фильтра гидравлической системы Т-170

Промойте фильтрующие элементы дизельным топливом. При повреждении сетки элемент замените.

Вставьте в отверстие корпуса клапана клапан 2. Установите на клапан пружину 1 и заверните пробку 12. Отрегулируйте на стенде затяжку пружины клапана так, чтобы он срабатывал при давлении 150...200 кПа (1,5...2,0 кгс/см²).

Раскерните резьбу в сопряжении В корпуса клапана и пробки в трех точках на равных расстояниях по окружности. Наденьте на трубу последовательно: пружину 10, шайбу 9, резиновую прокладку, сорок фильтрующих элементов 8, вторую резиновую прокладку, втулку 7, третью резиновую прокладку, фильтрующие элементы, четвертую резиновую прокладку, втулку 5. Сожмите фильтрующие элементы через втулку так, чтобы, верхняя плоскость втулки совпала с нижним торцом канавки на трубе, и установите в канавку упорные полукольца 3, снимите нагрузку. Замерьте размер А, который должен быть 42,5...47,5 мм. Отрегулируйте размер А подбором, количества фильтрующих элементов (но не более 84). Установите в канавку на конце трубы резиновое кольцо 4.

В конструкции фильтра на тракторах последнего выпуска вместо набора фильтрующих элементов 8 применяются три бумажных фильтрующих элемента «Реготмас 635-1-06».

Установка фильтра гидравлической системы Т-170

Установите собранный фильтр в отверстие правого гидробака до упора фланца корпуса перепускного клапана во фланец стяжной трубы гидробака. Закройте отверстие крышкой 2 ( см. рис. 318 ) с резиновым кольцом. Закрепите крышку четырьмя болтами 1 с пружинными шайбами. Заверните пробку 3.

Ремонт фильтра гидравлической системы