Запасные части ЧТЗ Запасные части ЧТЗ
Мелитополь
Например:
Актобе
Алдан
или
Выбрать автоматически
Актобе
Алдан
Алматы
Алчевск
Архангельск
Астана
Астрахань
Атырау
Баку
Балашиха
Барнаул
Белгород
Бердянск
Бишкек
Владивосток
Владикавказ
Воркута
Воронеж
Горловка
Грозный
Донецк
Екатеринбург
Иваново
Ижевск
Иркутск
Казань
Калининград
Каменск-Уральский
Караганда
Каховка
Кемерово
Киров
Комсомольск-на-Амуре
Костанай
Краснодар
Красноярск
Красный луч
Ленск
Луганск
Магадан
Магнитогорск
Макеевка
Махачкала
Мелитополь
Минск
Мирный (Якутия)
Москва
Мурманск
Нерюнгри
Нижневартовск
Нижний Новгород
Нижний Тагил
Новая каховка
Новокузнецк
Новосибирск
Новый Уренгой
Норильск
Ноябрьск
Нур-Султан
Омск
Оренбург
Ош
Павлодар
Пермь
Петрозаводск
Петропавловск
Петропавловск-Камчатский
Псков
Ростов-на-Дону
Салехард
Самара
Санкт-Петербург
Саратов
Севастополь
Семей
Симферополь
Сочи
Ставрополь
Сургут
Сыктывкар
Тараз
Ташкент
Токмак
Томск
Тында
Тюмень
Ульяновск
Усинск
Усть-Каменогорск
Уфа
Хабаровск
Ханты-Мансийск
Херсон
Челябинск
Чита
Шымкент
Экибастуз
Энергодар
Южно-Сахалинск
Якутск
Ваш город
Мелитополь
Войти
Запасные части к тракторам на одном сайте
Отправить заявку


Устройство трактора ЧТЗ


/
с НДС 20%
Описание

Назначение и основные механизмы трактора Т-130М

Т-130М — мощный гусеничный трактор общего назначения, выполняющий разнообразные энергоемкие работы в агрегате с различными машинами и орудиями: бульдозерными лопатами, погрузчиками, трубоукладчиками, буровыми установками, подъемными кранами, бурильными агрегатами, плугами-рыхлителями, канавокопателями, роторными фрезерными машинами с активным рабочим органом, дренажными орудиями, кусторезами, корчевателями и т. д.

Трактор может работать в различное время года, в разных климатических зонах (от тропиков до районов Крайнего Севера), на разнообразных грунтах (песок, переувлажненные почвы, плотные суглинки, скальные породы и мерзлые грунты).

В связи с многообразием и спецификой выполняемых работ выпускаются различные модификации трактора Т-130М.

Тракторы общего назначения

  • Т-130М — с кабиной, гидравлической системой и жестким прицепным устройством;

  • Т-130МГ-1 — базовый с кабиной, гидравлической и передней навесной системами, с жестким прицепным устройством (орудия навешивают спереди трактора — бульдозерная лопата, корчеватель и др.);

  • Т-130МГ-2 — с кабиной, гидравлической системой и маятниковым прицепным устройством, приспособленный для установки передней и задней навесных систем;

  • Т-130МГ-3 — с кабиной, гидравлической и задней навесной системами;

  • Т-130МГ — с гидравлической системой, приспособленный для установки передней и задней навесных систем.

Тракторы специального назначения — болотоходные

  • Т-130МБ — с маятниковым прицепным устройством, негидрофицированный;

  • Т-130МБГ-1 — с гидравлической и передней навесной системами, с маятниковым прицепным устройством;

  • Т-130МБГ-3— с гидравлической и задней навесной системами.

Трактор состоит из двигателя, трансмиссии, ходовой части, гидравлической системы управления рабочим органом, рабочего места водителя и дополнительного оборудования.

Двигатель мощностью 117,8 кВт (160 л. с.) у тракторов общего назначения и 103 кВт (140 л. с.) — у болотоходных превращает тепловую энергию в механическую, которая приводит в движение трактор и присоединенные к нему машины. От двигателя, установленного на лонжеронах, крутящий момент передается к ведущим колесам через трансмиссию, состоящую из сцепления, коробки передач, главной передачи, механизмов поворота с тормозами и бортовых редукторов.

Сцепление служит для отсоединения трансмиссии от двигателя при переключении скоростей и плавного трогания трактора с места.

Коробка передач трактора общего назначения позволяет изменять скорость движения, обеспечивая 8 передач переднего и 4 передачи заднего ходов и максимальное тяговое усилие 128,3 кН (13,08 тс) при скорости движения 2,51 км/ч.

Ходовая часть является опорной базой и преобразует вращательное движение ведущих колес в поступательное движение трактора. Связь ходовой части с рамой трактора осуществляется шарнирно в трех точках. Рама трактора состоит из корпуса муфт поворота и приваренных к нему лонжеронов коробчатого сечения, связанных между собой в передней части бампером, а в средней — коробкой рессоры.

Раздельно-агрегатная гидравлическая система универсальная, предназначена для работы с двумя типами навесных систем: передней и задней.

Передняя навесная система предназначена для установки навесных орудий, смонтированных на специальной раме. Силовые гидроцилиндры прикреплены к цапфам силовых баков гидросистемы.

Задняя навесная система, состоящая из механизма навески с двумя силовыми гидроцилиндрами, предназначена для агрегатирования трактора с различными сельскохозяйственными орудиями.

Рабочее место водителя расположено в металлической кабине закрытого типа с теплозвукоизоляцией.

Кабина оборудована вентилятором, устройством для обогрева, зеркалом заднего вида, солнцезащитным козырьком, стеклоочистителями, плафоном для освещения. Хорошая обзорность из кабины позволяет трактористу видеть обе гусеницы и рабочие органы орудий.

Дополнительным оборудованием (защитным устройством двигателя и ходовой части, ледоходными шпорами, асфальтоходными и другими видами башмаков, устройством для подготовки двигателя к запуску в зимнее время года и т. д.) трактор оснащается в зависимости от его назначения.

Органы управления и контрольные приборы Т-130М

Двигателем, агрегатами и механизмами трансмиссии, рабочим и дополнительным оборудованием трактора управляют с помощью рычагов, педалей, рукояток, кнопок (рис. 1 и 2).

Рукоятки и рычаги для запуска двигателя вынесены из кабины и смонтированы на отдельном блоке управления, который прикреплен к головке и задней стенке блока дизельного двигателя (см. рис. 1). Чтобы попасть к блоку управления, следует открыть люк на передней стенке кабины, одновременно повернув обе ручки, установленные на дверке, и потянуть дверку на себя и влево.

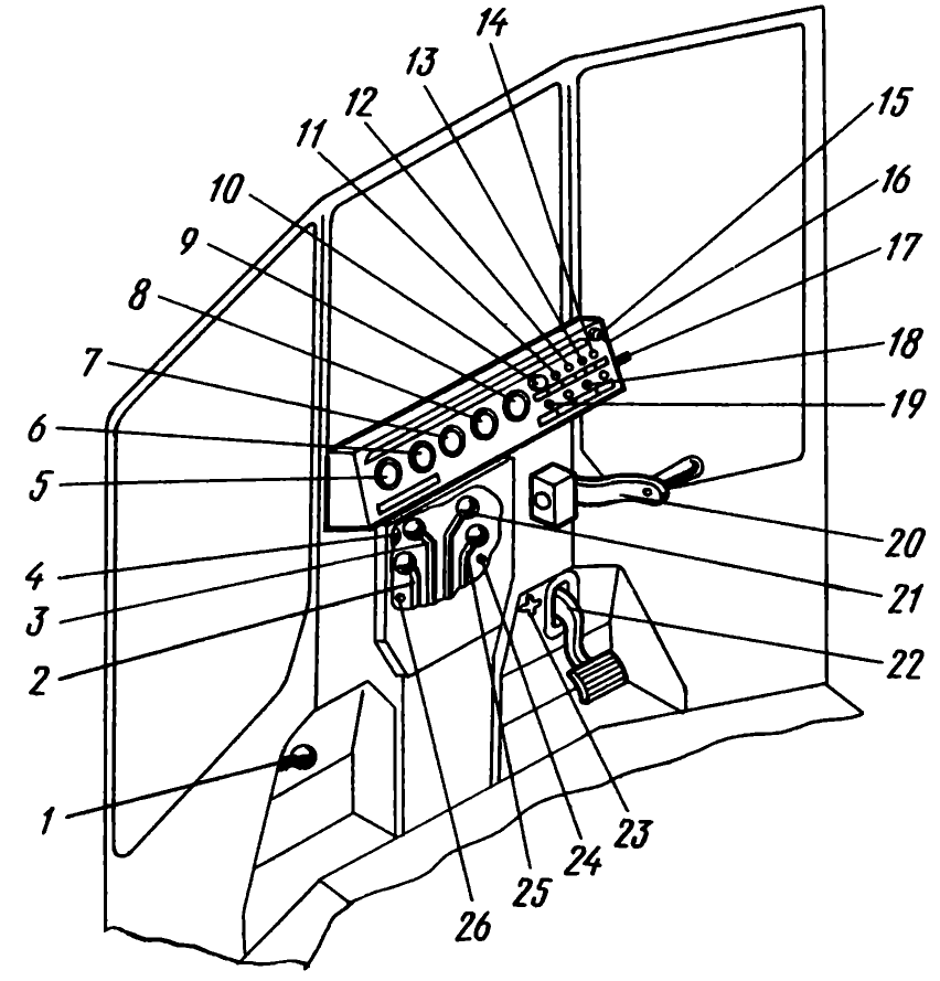
Рис. 1. Органы управления двигателем и контрольные приборы Т-130М


1 — кнопка стартера пускового двигателя,
2 — рукоятка включения редуктора пускового двигателя,
3 — рукоятка включения шестерни бендикса пускового двигателя,
4 — кольцо троса управления шторкой радиатора,
5 — указатель давления масла в турбокомпрессоре,
6 — указатель давления масла в смазочной системе дизеля,
7 — указатель давления топлива,
8 — указатель температуры воды системы охлаждения дизеля,
9 — амперметр,
10 — переключатель плафона и освещения приборов,
11 — включатель передних фар,
12 — включатель задних фар,
13 — включатель зажигания магнето,
14 — включатель вентилятора-отопителя кабины,
15 — включатель сигнала,
16 — щиток приборов,
17 — указатель засоренности воздушного фильтра дизеля,
18 — контрольная лампочка аккумулятора,
19 — лампочка датчика аварийного давления масла в коробке передач,
20 — рукоятка акселератора,
21 — рукоятка включения сцепления пускового двигателя,
22 — педаль деселератора,
23 — рукоятка тяги краника бензобака пускового двигателя,
24 — рукоятка тяги дроссельной заслонки карбюратора пускового двигателя,
25 — рукоятка декомпрессора дизеля,
26 — рукоятка тяги воздушной заслонки карбюратора пускового двигателя.

Рукоятка 23 тяги краника бензобака пускового двигателя находится на передней стенке кабины, справа под рычагом акселератора. Перед запуском пускового двигателя или подогревателя рукоятку следует повернуть на два-три оборота против часовой стрелки. После запуска дизельного двигателя краник закрывают.

Рукоятка тяги 26 воздушной заслонки карбюратора находится слева на блоке управления двигателем. При перемещении рукоятки 26 на себя стрелкой вниз заслонка закрывается (при пуске холодного двигателя).

Рукоятка 24 тяги дроссельной заслонки карбюратора находится справа на блоке управления двигателем. При перемещении тяги на себя дроссельная заслонка открывается, при этом стрелка на торце рукоятки должна быть расположена острием вниз.

Рукоятка 25 механизма декомпрессора дизельного двигателя расположена справа на блоке управления двигателем. Верхнее положение рукоятки соответствует рабочему положению, при котором механизм декомпрессора не воздействует на клапаны дизельного двигателя. При повороте рукоятки на себя механизм декомпрессора приоткрывает всасывающие клапаны дизельного двигателя.

Рукоятка 2 редуктора пускового двигателя расположена слева на блоке управления двигателем. Верхнее положение рукоятки соответствует ускоренной передаче. Поворачивая рычаг от головки блока на себя, редуктор переключается на замедленную передачу (положение пуска в холодное время года).

Рукоятка 21 сцепления пускового двигателя расположена слева на блоке управления двигателем. Верхнее положение ее соответствует положению выключенного сцепления. Для включения муфты сцепления рычаг перемещают на себя.

Рукоятка 3 включения шестерни механизма включения (бендикса) пускового двигателя расположена на блоке управления двигателем.

Верхнее положение рукоятки соответствует выключенному положению шестерни механизма включения, а нижнее — включенному.

Кнопка 1 включения стартера расположена на передней стенке кабины. Включают стартер при включенном включателе 13.

Рукоятка 20 акселератора и педаль 22 деселератора расположены справа на передней стенке кабины. Верхние положения рычага и педали соответствуют максимальной подаче топлива. Чтобы переключить скорость или временно остановить трактор, перемещают педаль вниз до упора, в результате подача топлива уменьшается, а обороты дизеля снижаются до минимальных. Для уменьшения частоты вращения двигателя на длительное время следует рукоятку акселератора опустить вниз. В крайнем нижнем положении акселератора полностью выключена подача топлива.

Кольцо 4 цепочки управления шторкой радиатора расположено слева на опоре крыши капота. Передвигая цепочку на себя, шторку закрывают, а положение ее фиксируют поворотом цепочки в прорези.

На щитке приборов 16 находятся включатель 14 вентилятора отопителя кабины, контрольные и коммутационные приборы электроосвещения и сигнализации; зажженная лампочка 19 указывает на падение давления в смазочной системе трансмиссии, а зажженная лампочка 18 — на включение массы (включатель 3, см. рис. 2).

Рис. 2. Органы управления трактором Т-130М


1 — педаль тормоза,
2 — рычаги распределителя гидронавески (гидросистемы навесного оборудования),
3 — включатель «массы»,
4 — рычаг переключения диапазонов и заднего хода,
5 — рычаг механизма управления поворотом,
6 — рычаг переключения передач,
7 — рукоятки регулировки сиденья по высоте и по массе водителя,
8 — защелка горного тормоза,
9 — валик педали сцепления,
10 — фиксатор педали сцепления,
11 — педаль сцепления.

Указатель 7 (см. рис. 1) показывает давление топлива в топливной системе дизельного двигателя; нормальное давление топлива при работе трактора 69—108 кПа (0,7— 1,1 кгс/см²).

Указатель 6 показывает давление масла в масляных системах дизеля и турбокомпрессора; нормальное давление масла при работе трактора должно быть для дизельного двигателя 196—343 кПа (2—3,5 кгс/см²), для турбокомпрессора 98—294 кПа (1—3 кгс/см²).

Указатель 8 в комплекте с электрическим датчиком предназначен для контроля температуры воды в системе охлаждения дизельного двигателя (нормальная температура воды при работе трактора 353—368 К, т. е. +80 - +95°С), максимально допустимая — 373 К (+ 100°С).

Амперметр 9 указывает величину зарядного (+) или разрядного (—) тока.

Для определения времени работы трактора на корпусе регулятора дизельного двигателя установлен рабо-томер.

Педаль тормоза 1 (см. рис. 2) находится в кабине на правой колонке, установленной на кожухе сцепления. При торможении трактора без выключения муфт поворота следует нажать на педаль.

Рычаг механизма управления поворотом 5, расположенный перед трактористом, предназначен для выключения муфт поворота (правой или левой) и включения тормозов. Выключают муфту поворота, передвигая рычаг в сторону отключаемой муфты; при этом срабатывает сервоустройство, которое ускоряет и облегчает выключение ее.

Включают соответствующий тормоз, перемещая наклоненный рычаг на себя со стороны отключенной муфты. Для торможения трактора передвигают рычаг 5 на себя, не выключая муфт поворота.

При остановке трактора на подъемах и спусках включают стояночный тормоз, передвигая рукоятку на себя и фиксируя ее защелкой 8.

Педаль сцепления 11 находится в кабине на левой колонке, установленной на кожухе сцепления. Педаль сблокирована с рычагами 6 и 4 (см. рис. 2) переключения скоростей и диапазонов. Если ход педали сцепления равен 100±10 мм, то блокировочный механизм закрыт (переключение передач невозможно). При дальнейшем ходе педали сцепления блокировочный механизм разъединяется. Перед остановкой двигателя рукоятки переключения передач и диапазонов должны быть установлены в нейтральное положение, так как сцепление легко выключать только при работающем двигателе. В выключенном положении педаль может удерживаться фиксатором 10.

Рукоятки 6 и 4 переключения скоростей и диапазонов находятся справа и слева от тракториста. Правой рукояткой включают один из двух диапазонов переднего («нормальный», «ускоренный») хода и задний ход, левой—включают одну из четырех передач. Валик правой рукоятки переключения скоростей сблокирован с включателем магнето. Включенные рукоятки фиксируются автоматически пружинным фиксатором.

Крайняя левая рукоятка распределителя 2 управляет передними гидроцилиндрами навесной системы трактора, крайняя правая — гидроцилиндрами задней навесной системы трактора, средняя — выносными гидроцилиндрами навешиваемых орудий.

Крайнее переднее положение рукоятки распределителя соответствует «плавающему» положению золотника, среднее положение ее соответствует подъему или опусканию орудия, а крайнее заднее положение ее — положению золотника «заперто — нейтральное».

Для повышения срока службы гидравлического насоса не допускается работа гидросистемы на режиме предохранительного клапана. Необходимо своевременно возвращать рукоятку из положения «подъем» или «опускание» в положение «заперто — нейтральное» или «плавающее». Рукоятка включения привода насоса гидросистемы находится снизу кожуха шестерен распределения дизельного двигателя. Для включения привода насоса передвигают рукоятку назад, а для его выключения — вперед и фиксируют штифтом. Привод включают только при остановленном двигателе, так как включение привода насоса при работающем двигателе может привести к аварии.

На тракторах последних выпусков привод насоса включен постоянно, а механизм выключения не монтируется. В дальнейшем как более сложный рассматривается трактор с механизмом выключения.

Устройство трактора